▶제목Hardware 꼴라쥬
우리가 논의할 Hardware라는 건 Physical한 현상을 이용하여, 우리가 원하는 대로 동작하도록 만든 전기적인 장치를 말해요. 물론 진짜 쇠붙이 기계장치를 의미하기도 하지만, 우리는 조금 더 High Technology를 다룰 꺼니까요. ㅋ
꼴라쥬라는 건 영화용어인데요, 여러가지 잡동사니를 혼합해서 표현한 것을 촬영을 통해서 시각적인 새로운 형태의 효과를 창조해 낸 것을 말하지요.
그렇지요. Hardware를 잘 이해하고, Design하기 위해서, 또는 환상적인 Hardware control을 위해서 단편적이지만, 결국 하나로 귀결될 여러가지 Principle에 대해서 늘어 놓으려고 합니다.
혹시 저항, 인덕터, 캐패시터가 회로에서 어떤 역할을 하는지 한번에 대답할 수 있나요?
혹시, 이 회로를 해석할 수 있나요?

또는
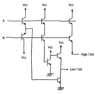
Transistor 회로를 해석할 수 있나요?

이런 걸 보고 금방 해석할 줄 아는 사람은 차~암으로 특이한 사람이죠. 신기하기도 하죠. 이런걸 해석하기 위해서, 처음에는 덕지 덕지 이것저것 알아보겠습니다. 신기한 사람이되는 길이라는 건 어렵지 않아요. 몇가지만 신경써서 알면 되는 거지요.
이런거 할려면 몇가지 알아두어야 하는 것들이 있어요.
우선은 Hardware Level에서 신호의 정체를 시간축과 주파수축으로 나눠서 살펴 보고요, 필요한 신호와 필요없는 신호를 구분해서 그걸 걸러 내는 방법을 알아봐야죠.
그런 다음에 실제 Hardware 구성을 위한 여러가지 component들인, Register, Clock, Bus, Memory의 의미와 Principle을 볼꺼에요.
이런 것들을 알아야, Software도 제대로 이해할 수 있지요. Software의 정체도 별거 아니니까,우리 같이 여행을 떠나보시렵니까?
- 어떤 사람이 길을 가다 보니, 어떤 남자가 어떤 남자의 사진을 뚫어져라 보고 있는거에요. 그래서 물었죠. 그게 누굽니까?
남자는 대답했어요 "이 사진속의 남자의 아버지는 내 아버지의 아들입니다. "
이 남자는 누구를 보고 있는 걸까요?
친절한 임베디드 시스템 개발자 되기 강좌 글 전체 리스트 (링크) -

댓글